合作客戶/
拜耳公司 |
同濟大學 |
聯合大學 |
美國保潔 |
美國強生 |
瑞士羅氏 |
相關新聞Info
-
> 篩板萃取塔中液滴行為的影響因素,篩板對界面張力體系液滴有何作用
> 溫度、表面張力的變化勢對土壤的收縮開裂的影響
> 鹽水溶液中,磺酸型含氟表面活性劑復合體系表、界面張力和潤濕性研究(二)
> 氣溶膠固定劑PAM-b-PVTES合成路線及GPC、DSC、表面張力等性能測試(一)
> 新型添加劑濃度對水合物溶液的表面張力的影響
> Marangoni效應:智能液體會走迷宮
> 可視化實驗方法研究電場作用下液滴撞擊表面的動態行為(四)
> 微膠囊聚合物溶液對延展型表面活性劑界面張力的影響(二)
> 不同配方的水性氟丙樹脂涂料涂膜合成、性能指標
> 太陽電池污染效應試驗,微量天平在其中起到什么作用
推薦新聞Info
-
> 表面張力和接觸角的關系|寶玉石接觸角的測量結果和表面張力計算方法(二)
> 表面張力和接觸角的關系|寶玉石接觸角的測量結果和表面張力計算方法(一)
> 表面張力儀系統測定:溫度范圍內甲基九氟丁醚的液相密度與表面張力
> 一套低溫、高壓懸滴法表面張力實驗測量系統實踐效果(三)
> 一套低溫、高壓懸滴法表面張力實驗測量系統實踐效果(二)
> 一套低溫、高壓懸滴法表面張力實驗測量系統實踐效果(一)
> 不同溫度下純有機物液體表面張力估算方法及關聯方程(二)
> 不同溫度下純有機物液體表面張力估算方法及關聯方程(一)
> ?工藝因素對植物纖維活性發泡材料表面張力的影響
> 印刷掉墨現象:真空噴鋁轉移紙儲存時間與涂層表面張力、結合牢度關聯性研究(三)
不同溫度下水波波速和表面張力系數的關系與計算方法【實驗】(一)
來源:大學物理 瀏覽 1249 次 發布時間:2024-09-09
根據水波波速與其表面張力的理論關系,自行設計實驗于不同溫度下測量多組數據進行驗證,并分析實驗結果。實驗中自制U型管測量液體表面張力,并通過錄制視頻的方式來記錄水波傳播過程,且創新地將正在計時的秒表一同錄入視頻中,提高了測量精度。在電腦上單幀播放視頻,在每幀畫面中讀出水波波峰的位置以及當前時刻,用波峰前進距離除以時間得到波速。該實驗改良了傳統測量方法,思路清晰,設計新穎,具有操作簡單,測量精度高的優點。
水波是生活中常見的一種物理現象,其性質的研究更是大學物理實驗中重要的組成部分。通過研究水波的性質,可以比較容易地觀測和研究干涉、衍射等波動特性。但在實際的實驗操作中,由于水波的傳播速度不易測量、水波中質元的運動情況較為復雜,使目前對水波波速的研究相對較少,在大學物理教學中也淺嘗輒止。眾所周知,水波的傳播速度與介質的特性有著密切的關系。對于水的表面波,主要由水的重力和表面張力為其提供回復力。當波長較小時,回復力中表面張力起主要作用。所以水波的傳播速度與其表面張力息息相關,研究兩者的關系可以使對水波的性質有進一步的了解。目前大學物理實驗中主要采用拉脫法測量液體表面張力,該方法測量原理簡單,測量裝置容易獲得。但測量過程中須保證玻璃管刻線、平面鏡刻線以及玻璃管刻線在平面鏡中的像線“三線合一”,同時要求在讀取水膜破裂瞬間的刻度值,導致初試者難以把握操作要領,人為引入較大誤差。對于水波的傳播速度,之前有人在實驗中利用硅光電池和激光器,通過測量激光在水中折射后光強的變化測量水波波速。但實驗步驟較為復雜,且易受到周圍環境中光源和振動的干擾。
針對以上問題,本文通過改進實驗參量的測量方法來提高測量精度。對于水的表面張力,利用自制的U型管測量表面張力系數,測量過程簡單快捷,避免了拉脫法等傳統方法中對拉脫瞬間的判斷和實驗手法不夠嫻熟帶來的偶然誤差。對于水波波速,首先將水波波紋投影在紙張上,然后將投影與正在計時的秒表一同錄制成視頻,之后在電腦中單幀播放,得到波峰位置及對應時刻,從而用波峰前進距離和時間來計算波速。最后改變水溫,測量不同溫度下的表面張力系數和波速,得到多組數據,誤差范圍符合大學物理實驗要求,最終較好地驗證了水波波速和表面張力系數的關系。
1、實驗原理與方法
1.1水波波速與其表面張力的關系
大學物理實驗中,水波實驗所研究的多為表面波。當波動主要存在于液體表面時,產生的水波稱為表面波。當理想流體的表面受到微擾動,如滴入一滴水時,就會產生液體表面波。此時波動的回復力主要由重力和表面張力提供。當波長大于10 mm時,重力起主要作用;當波長小于10 mm時,表面張力起主要作用。根據流體力學中的知識,可以得到
故th(kh)趨近于1,此時表面波波速v即可寫成(2)此式反映了波長較小時水波的表面波波速與其表面張力系數的關系。又因為表面張力系數與溫度有密切關系,通過測量不同溫度下的波速v、波長λ和表面張力系數α,便可以通過實驗驗證該公式的正確性。
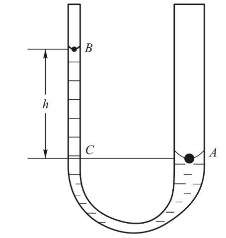
1.2利用U型管測量液體表面張力系數
不等徑U型玻璃管原理圖如圖1所示,其兩端為頂端開口的豎直管,內徑分別為D1、D2.U型管中裝有待測液體,當液體靜止時,會在兩端豎直管內形成凹液面。由于玻璃管內徑較小,可以將豎直管內的凹液面可近似地看成直徑為D1、D2的半球面。
圖1 U型管測量表面張力系數
對于彎曲液面,由拉普拉斯公式可得
pc為液面下C點處的壓強。此外,在流體靜力學中,當液體靜止時U型管內液面下A點與同水平面的C點壓強相同,即Pa=Pc.所以綜合以上各式可得
根據式(8),只需測量兩豎直管的直徑D1、D2以及管中凹液面的高低差h,便可以計算出待測液體的表面張力系數。
為降低實驗成本,使實驗便于推廣,實驗中利用橡膠軟管和兩根內徑不同的玻璃管自行制作U型管。首先取兩根內徑不等的長約20 cm的直玻璃管,一根長20 cm的橡膠軟管。用讀數顯微鏡分別測量玻璃管的內徑,記為D1、D2.然后用蒸餾水將玻璃管和橡膠管洗凈,然后用橡膠管將兩根玻璃管連接起來,組成不等徑U型管。實物圖如圖2所示。
圖2 U型管實物圖
1.3錄制波紋光投影視頻測量水波波長和波速
當水滴滴入水中時,會在水面產生一組水波,水波以同心圓的形狀傳播出去,由于振動振幅較小,此時的水波可以認為是水的表面波。對于這種非連續的波,可以通過測量波峰前進距離和所經歷的時間來計算波速,同時通過測量同一組水波相鄰波峰間的距離可以得到波長。
由于水波傳播速度較快,難以直接觀測水波的傳播情況和波峰位置。實驗中通過錄制視頻的方式來觀測水波傳播的過程。首先將透明水槽放置在固定高度的底座上,在水槽下方放置光源。水波波動時表面的起伏會像凸透鏡、凹透鏡一樣將光線會聚或發散(圖3),此時在水面上方放置整潔的紙張作為屏幕承接光線,便可以看到明暗相間的區域,分別對應水波的波谷和波峰。同時,若將透明的刻度尺放入水中,則可以將刻度尺一同投影到屏幕上,從而測量出水波的位置數據。然后,將攝像設備(手機及手機支架)放置在屏幕上方拍攝屏幕上水波的光投影(圖4),記錄水波傳播的過程。最后,使用電腦單幀播放錄制的視頻,從而放慢水波傳播的過程以便于準確測量波峰位置。此外,由于水滴滴落時形成的是形如同心圓的一組水波,便可以在單幀畫面中測量多個相鄰波峰的位置得到波長。
在時間測量方面,考慮到視頻本身所標定時間的可靠性難以保證,為提高時間測量精度,實驗中將正在計時的秒表一同錄入視頻中。這樣在電腦上單幀播放視頻時,由于將秒表一同錄入視頻,每幀畫面中讀取波峰位置的同時還可以讀出當前時刻,從而得到準確對應的波峰位置和時刻。然后從多幀畫面中分別讀取波峰位置和對應時刻,計算出波峰前進距離和對應時間間隔,進而用波峰前進的距離除以時間得到波速。
圖3水波對光線的匯聚與發散
圖4產生波紋投影的水槽(左)和錄制視頻的手機(右)





